www.strumentazioneelettronica.it

resultsUrl="https://www.strumentazioneelettronica.it/risultati-ricerca/"

70 GHzTektronix ha comunicato che nei suoi laboratori di ricerca è stata confermata possibilità di realizzare oscilloscopi con larghezza di banda in tempo reale di 70 GHz (n.d.r. attualmente il suo modello di punta arriva a 33 GHz).

I nuovi oscilloscopi Tektronix da 70 GHz sono attesi per il 2014 dovrebbero essere caratterizzati da prestazioni e in termini di accuratezza e fedeltà di segnale adatta ad affrontare applicazioni come le comunicazioni ottiche e i bus dati seriali di quarta generazione a 400 Gbps ed 1 Tbps.

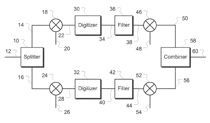
Secondo quanto dichiarato da Kevin Ilcisin, responsabile dello sviluppo tecnologico di Tektronix, "l'eccezionale guadagno nelle prestazioni in termini di banda passante e di mantenimento della migliore fedeltà del segnale è in parte dovuto ad una nuova tecniche di elaborazione del segnale svilppata e brevettata da Tektronix, che è stata definita 'Asynchronous Time Interleaving'. Si tratta di un nuovo sistema che migliorerà il rapporto segnale rumore ben al di là di quanto consentito dall'approccio all'interlacciamento di frequenza (frequency interleaving) utilizzato dai produttori di oscilloscopi concorrenti."

Metodo di campionamento brevettato da TektronixSpiega Ilcisin: "Il limite intrinseco del metodo classico dell'interlacciamento di frequenza è dovuto a come le varie gamme di frequenza sono riunite assieme per arrivare alla ricostruzione della forma d'onda finale, un passaggio cruciale che può compromettere le prestazioni in termini di rumore elettrico. Nell'interlacciamento di frequenza tradizionale, ciascun convertitore analogico-digitale (ADC) presente nel sistema di acquisizione del segnale vede solo una parte dello spettro del segnale in ingresso. Con la nuova tecnologia di interlacciamento temporale asincrono brevettata da Tektronix, invece, tutti gli ADC vedono l'intero spettro del segnale con piena simmetria del percorso di segnale. Questa caratteristiche offre la possibilità di sfruttare i vantaggi prestazioni offerti dalle architetture interlacciate, ma al contempo di conservare meglio fedeltà del segnale acquisito."

Fiere e Seminari

Logo FocusonPCB

FocusonPCB - Vicenza, 13-14 maggio 2026

"Focus on PCB – From Design to Assembly” torna a Vicenza il 13 e 14 maggio 2026 confermandosi come l’evento di riferimento in Europa per l’industria dei circuiti stampati e per…

Oscilloscopio MXO 3

Focus on PCB - 13-14 maggio, Fiera di Vicenza