www.strumentazioneelettronica.it

resultsUrl="https://www.strumentazioneelettronica.it/risultati-ricerca/"

Modulo di acquisizione dati multifunzione Data Translation DT9826Data Translation ha annunciato diversi nuovi moduli di acquisizione dati a basso costo multicanale e multifunzione con interfaccia USB.

I moduli DT9826-4 e DT9826-8 combinano 4 o 8 convertitori analogici/digitali a 24 bit, I/O digitali e un ingresso tachimetrico in un sistema di acquisizione con funzioni di configurazione plug-and-play tramite l'interfaccia USB. Lo stesso hardware è anche disponibile sotto forma di scheda integrabile in sistemi personalizzati.

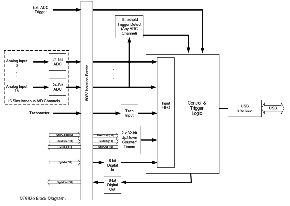
Schema a blocchi del modulo di acquisizione multifunzione Data Translation DT9826L'accuretezza delle acquisizioni è garantita dall'utilizzo di un convertitore sigma/delta a 24 bit e frequenza massima di campionamento di 41,6 ks/s per ciascuno dei 4 o 8 canali integrati nel modulo, mentre l'isolamento galvanico di ±500 V impedisce la formazione di anelli di massa.

I modelli DT9826-4 e DT9826-8 offrono rispettivamente 4 o 8 canali analogici di ingresso, 16 ingressi/uscite digitali, 2 contatori/temporizzatori a 32 bit e un ingresso per tachimetro.

Per tutti i moduli sono disponibili i driver software per Windows XP/Vista/7 e strumenti per interfacciarsi con i linguaggi di programmazione LabVIEW e MATLAB.

Fiere e Seminari

Logo FocusonPCB

FocusonPCB - Vicenza, 13-14 maggio 2026

"Focus on PCB – From Design to Assembly” torna a Vicenza il 13 e 14 maggio 2026 confermandosi come l’evento di riferimento in Europa per l’industria dei circuiti stampati e per…

Oscilloscopio MXO 3

Focus on PCB - 13-14 maggio, Fiera di Vicenza